Revue technique automobile - Renault Scenic: Vidange de l'huile
DP0
|
Couples de serragem
|
|
| bouchon de vidange | 2,5 daN.m |
| déversoir de mise à niveau | 3,5 daN.m |
Vidanger la boîte de vitesses automatique huile chaude (60"C maximum), pour éliminer le maximum d'impuretés.
- Mettre le véhicule sur un pont élévateur.
- Déposer le protecteur sous moteur.

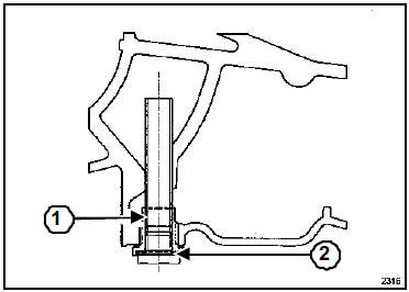
- Vidanger la boîte de vitesses automatique par le bouchon (1).
| Nota : Par mesure de précaution, mesurer le volume d'huile recueillie lors de la vidange (totale ou partielle), de manière à connaître le volume d'huile qu'il faut remettre, pour éviter des erreurs de niveau. |
PARTICULARITÉS

- Le bouchon a deux fonctions :
- le bouchon de vidange (2,5 daN.m)(1),
- le déversoir de mise à niveau (3,5 daN.m)(2).
Pièces à remplacer
systématiquement
DP0
Remplacer impérativement les pièces suivantes, lorsqu'elles
ont été déposées :
les écrous autofreinés,
les joints d'&eac ...
Remplissage - Niveaux
DP0
Matériel indispensable
outil de diagnostic
I - REMPLISSAGE
Le remplissage s'effectue par le trou (1).
Utiliser un entonnoir muni d'un filtre de 15 ...
D'autres materiaux:
Valeurs et réglages des trains
roulants arrière
ROUES ALUMINIUM 15" ou ROUES ALUMINIUM 16" ou ROUES ALUMINIUM 17" ou ROUES
TOLE 15" ou
ROUES TOLE 16" ou ROUES TOLE 17"
I - CARROSSAGE
Non réglable.
II - PARALLÉLISME
Non réglable.
III - BLOCAGE DES ARTICULATIONS ÉLAST ...
Ensemble de commandes
sous volant : Fonctionnement
Le module de commande sous volant est constitué de
trois parties :
la commande d'éclairage,
les commandes d'essuyage lavage, de la radio et les
touches d'aide à la conduite,
le contacteur tournant.
Chacune de ces parties peuvent être dia ...
Fonctionnement système
FONCTIONNEMENT SYSTEME :
Le circuit de freinage en "X" de la Mégane II, se compose sur toute la gamme
de :
quatre freins à disque,
un amplificateur de freinage simple de 11 pouces.
L'ESP BOSCH offre également :
L'ABS (antiblocage des r ...
